MAX177
10-ти разрядные, CMOS, АЦП с устройством выборки/фиксации
Отличительные особенности:
- Разрешающая способность 12 разрядов, линейность 10 разрядов
- Время преобразования 8.33 мкс
- Встроенная система выборки/фиксации аналоговых сигналов
- Полоса входного сигнала полной мощности 6 МГц
- Встроенный 40 ppm/C источник опорного напряжения (ИОН)
- Высокое входное сопротивление (500 Мом)
- Время доступа к данным 100 нс
- Максимальная потребляемая мощность 180 мВт
- Корпуса 24 lead Narrow DIP и Wide SO
Области применения:
- Цифровая обработка сигналов (DSP)
- Обработка аудио и телекоммуникационных сигналов
- Прецизионные системы управления техпроцессами
- Быстродействующие системы сбора данных
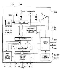
Функциональная схема:

Расположение выводов:

Описание:
ИС MAX177 является законченным, CMOS, 10-ти разрядным аналого- цифровым преобразователем (АЦП), который сочетает в себе встроенную систему выборки/фиксации, высокое быстродействие, низкое энергопотребление, встроенный источник опорного напряжения (ИОН). Время преобразования составляет 8.33 мкс и включает в себя время установки сигнала для системы выборки/фиксации. Встроенный ИОН типа «buried zener» обеспечивает низкий уровень дрейфа и шума опорного напряжения.
ИС MAX177 имеет диапазон напряжения входных сигналов от -2.5 В до +2.5 В.
Необходимые внешние компоненты ограничиваются развязывающими конденсаторами для напряжений источника питания и ИОН. Схемотехника цепей встроенного тактового генератора позволяет управление им с помощью внешнего тактового сигнала, а в выделенных приложениях генератор может работать от кварцевого резонатора.
ИС MAX177 имеет стандартный микропроцессорный интерфейс. Выходы данных с тремя состояниями могут быть сконфигурированы для работы с 8-ми и 12-ти разрядными шинами данных. Временные характеристики доступа к данным и освобождения шины обеспечивают совместимость с большинством популярных микропроцессоров без необходимости резервирования циклов ожидания.
Документация:
| |
|
 |
132 Kb Engl Описание микросхемы |
|